家居行業的“好太太”圈,豈止三十而已!
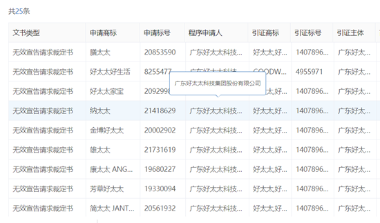
根據數據統計,2017年至今,廣東好太太科技集團股份有限公司的 “好太太”商標,在46件駁回復審案件中,作為案件引證商標,成功阻擋駁回了他人申請的“太太”們近似商標。
同時間段內,廣東好太太科技集團股份有限公司以“好太太”作為引證商標對已注冊的近似商標提起無效宣告請求,最終使25位“太太”全部無效,5位“太太”部分無效。
開頭就講到,廣東好太太科技集團股份有限公司是一家“隱秘而偉大”的公司,偉大之處在于,夫妻檔創業20年,身價超170億。
堅持將小小的晾衣架銷售額做到15億、毛利40%,還成功A股上市、成為中國第一只“衣架股”!
隱秘之處在于,嗯......中國的億萬富豪榜中,并不曾聽聞他們的姓名。
如今的廣東好太太科技集團股份有限公司,已經完成從傳統晾衣架到“智能家居”的轉型,并且擁有商標申請總量達到860件。名下核心的商標有“好太太”、“HOTATA”、“KETYOO”、“科徠尼”。
“好太太”晾衣架品牌,是沈光標于1999年和妻子王妙玉創立的。
經過二人的精心鉆研打磨,其在2000年注冊的第1407896號“好太太”商標,被初次被認定為在“晾衣架”上馳名商標。
想來三百六十行,原來真的行行出狀元。
“好太太”在商標維權過程中,這些近似商標的申請人也多是一些電器、家居、建材公司,這與“好太太”的市場產品存在絕對沖突關系。
這時候搶注近似商標,有兩種可能,一是太太們作為一個家庭的絕對付出者,受到家居行業的偏愛與青睞。二就是傍名牌,搭個順風車啦~
如果是第一種可能,小編的建議是,太太已經足夠忙了,有些家務活,完全可以分給好丈夫、好公公、好婆婆來分擔,何必抓著太太不放?
要是第二種可能的話,小編的忠告是,活在別人的價值半徑里蹭點殘羹剩飯實在吃相難看(顧佳附體),不如像沈漢標夫婦一樣腳踏實地走自己的路,不管成功還是失敗,都更暢快。
別人的商標雖然好,但還是揣在自己兜里的商標更實在。
-
廚房電器品牌建設以質量為先,誠信經營才能經久不衰 2022-07-02
-
方太94.7%發明專利授權率高居全榜第二,行業第一 2022-07-02
-
重磅!7月1日起,淋浴器、凈水機水效標識實施規則公布 2022-07-02
-
智造不應放低自己 民族家具品牌需有民族特色! 2022-07-02
-
減少霧霾天氣,提高門窗的性能是關鍵 2022-07-02
-
全行業機遇與挑戰并存,全屋家居企業轉型迫在眉睫 2022-07-01
-
“南蒸北烤”模式開啟,木材商只能“靠天吃飯”? 2022-07-01
-
每年超1000億鎊!埃及衛浴市場規模將超千億 2022-07-01
-
紅木家具行業“跟風潮”:惡性競爭,傷痕累累 2022-07-01
-
2022廣州陶瓷工業展在琶洲開幕! 2022-07-01
品牌大全
涂料 | 油漆 | 電工
家具 | 衣柜 | 家居
鎖具 | 門業 | 門窗
板材 | 陶瓷 | 瓷磚
燈飾 | LED | 照明
灶具 | 煙機 | 空調
吊頂 | 浴霸 | 安防
窗簾 | 壁紙 | 床墊
管業 | 水槽 | 五金
男裝 | 女裝 | 童裝
日化 | 化妝品 | 洗護
淋浴房 | 熱水器 | 璧掛爐
木地板 | 生態板 | 陽光房
凈水器 | 集成灶 | 洗碗機
水性漆 | 地坪漆 | 貝殼粉
小家電 | 飲水機 | 太陽能
不銹鋼 | 空氣能 | 電動車
瓷磚膠 | 硅藻泥 | 凈化器
安全板 | 潤滑油 | 無主燈
衛浴潔具 | 廚衛電器 | 智能廚衛
廚房櫥柜 | 汽車用品 | 智能家居
紅木家具 | 辦公家具 | 古典家具
藝術涂料 | 防水材料 | 體育建筑
廚房電器 | 新風系統 | 鐘表配件
全屋家居 | 全鋁家居 | 全屋整裝
生活家電 | 敲擊樂器 | 節能環保
鋁合金門窗 | 全球高端廚衛
裝配式建筑 | 更多
熱點聚焦
您當前位置:












